BMW apresenta motocicleta inovadora com design de cápsula e oito rodas para maior segurança
BMW inova com conceito de motocicleta fechada e aerodinâmica.
A BMW, conhecida por suas inovações, está novamente explorando o campo das motocicletas com um conceito que desafia as convenções tradicionais. A nova proposta não se assemelha a uma motocicleta convencional, mas é, de fato, uma criação patenteada da marca.
Com sede em Munique, a fabricante está se aventurando em um design de motocicleta totalmente carenada, que se assemelha a uma cápsula e tem como principal objetivo a eficiência aerodinâmica. Este conceito não é apenas uma releitura de ideias passadas, mas uma abordagem radical que visa maximizar a performance e minimizar a resistência do ar.
O design proposto pela BMW é inspirado em formas aerodinâmicas, com uma carroceria fechada em formato de gota, que é uma das mais eficientes disponíveis. Embora a ideia de motocicletas fechadas não seja nova, a BMW pretende levar essa proposta a um novo patamar, focando em três pilares fundamentais: redução da resistência do ar, economia de combustível e aumento da autonomia.
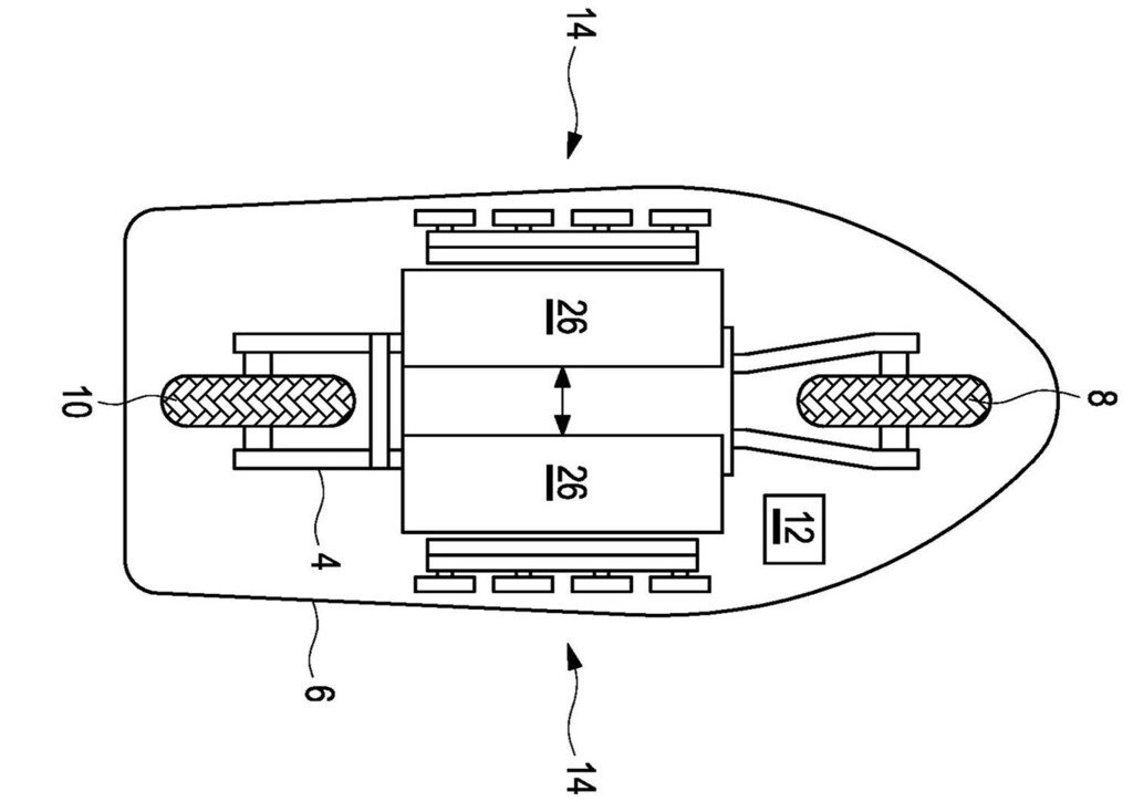
Entretanto, um dos principais desafios desse conceito é a falta de apoio para os pés, o que pode ser um problema significativo para o equilíbrio do veículo. A BMW optou por não utilizar soluções complexas, como giroscópios, e decidiu adotar uma abordagem mais mecânica para resolver essa questão.
A solução proposta pela BMW é inovadora: ao invés de usar apenas duas rodas laterais retráteis, a marca sugere um sistema de oito rodas auxiliares, organizadas em duas filas de quatro. Essa configuração permite uma distribuição melhor da área de contato, garantindo estabilidade mesmo em superfícies irregulares.
Embora a ideia seja promissora, a implementação desse conceito enfrenta dificuldades. O mercado de motocicletas fechadas tem tentado se estabelecer por décadas, mas sem sucesso significativo. No entanto, com a crescente eletrificação e a necessidade de soluções eficientes em um mundo urbano cada vez mais congestionado, a proposta da BMW pode encontrar um novo espaço no mercado.
Assim, a BMW não está apenas inovando, mas também respondendo a um contexto em transformação, buscando alternativas que podem ser mais relevantes do que nunca no cenário atual das mobilidades urbanas.
